苹果真的在造车?获得新式天窗和高科技座椅专利
文章来源: 2018-08-30 点击次数:

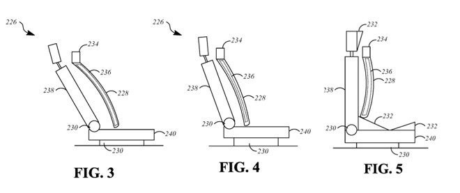
第二项专利是“动态座椅系统的触觉反馈”,它探索了车辆通过座椅来向乘客提供事件通知的方式。苹果建议利用座椅本身来向用户发出诸如防止偏离车道的提醒,而不是通过哔哔声和视觉提示来提醒。

所谓的“动态座椅系统”,苹果指的是一种各项特性可由车载电脑调节的座椅。例如,这可能包括调整座椅的高度、靠背角度、给座垫充气或放气或者改变安全带的张力。
这一切都是基于车载电脑从外部状况接收到的数据而进行的,例如根据车辆运动来评估乘客可能受到的生命危险。
上述专利是苹果向美国专利商标局(USPTO)提交的诸多涉及汽车的专利申请的一部分,其中大部分是关于无人驾驶汽车系统等颇具特色的主题。它今年8月提交的一份申请文件涉及自动驾驶汽车如何提醒告知其他的道路使用者它的行驶意图,今年7月提交的另一份文件则关注汽车如何根据其观察到的乘客压力来改变其驾驶风格,3月份的文件则谈到基于手势的控制和其他的类似主题。
长期以来,苹果一直在致力于“泰坦计划”,最初它是想要打造一款品牌汽车,直到2016年它将项目重心转向自动驾驶汽车系统。苹果在运营着一支测试其自动驾驶项目的车队,据信该公司正在与大众公司合作展开PAIL项目,使用自动驾驶面包车来接送员工上下班。
苹果可能仍在研发自己的汽车,知名分析师郭明琪(Ming-Chi Kuo)称,“苹果汽车”(Apple Car)或相关产品最早可能会在2023年推向消费者。